scag tiger cub belt diagram
The Turf Tiger has a driveshaft system for engaging the deck. Sat May 15 22 8-11 am ET.
Scag Power Equipment Gc Stt 61 Clam Shell Grass Catcher S N E0700001 E0799999 Blower Mounting Components Shank 39 S Lawn Scag
DECK SPINDLE FOR SCAG ZERO TURN MOWER TURF TIGER CHEETAH 52 61 72 DECKS.

. From a transmission diagram. It depends on how much aluminum foil and also on the configuration of the aluminum foil ie. Anything that enters into this field that is.
Scag Scag 482542 STC Wire Harness. Scag tiger cub motor. 07 5406 3999 E.
It has a wide mower stance and extra-low center of gravity for ultimate stability and a replaceable front caster-wheel weldment. 20th Annual Virginia Wesleyan University Golf Outing. The Dog At Club Venom waykool.
The answer is Not Always. Customize this mockup in a live template editor. Buyers premium included in price USD 3750 1973 International Cub Cadet Lawn Mower Gear Transmission engine replaced with new 10 HP Kohler Engine 48 cut One-owner purchased new.
This site has access to thousands of listings from. The Cub Cadet ULTIMA Series ZTX4 54 in. Email protected 51 Beerwah Parade Beerwah QLD 4519 Opening Hours.
2016-2019 Cub cadet mower deck belt problems Step 6 - Take off the mower deck belt covers. The official 2022 Womens Lacrosse schedule for the. This range does not include taxes and fees and does not factor in your specific model year or unique location.
1973 CUB CADET 86. Massey Ferguson 240 Parts - Specs. Solid Design for Years of Dependable Service The Turf Tiger is ultra-strong and built for long life.
Aluminum foil will block the x-rays. The Kawasaki FD590V is a 059 l 585 cc 357 cu-in V-twin 90 liquid-cooled 4-stroke internal combustion small gasoline motor with vertical shaft manufactured by Kawasaki Heavy. 22 HP Kohler V-Twin Zero Turn Mower Model ULTIMA ZT1-42.
61 cut water cooled Kawasaki that I bought new in 1999. Narrow your search for Massey Ferguson 240 Parts by selecting categories on the left. 39 OEM Replacement Drive Belt.
This means you wont get the level and frequency of wear and tear that comes with a belt-driven mower. The Massey Ferguson 240 Tractor was manufactured from 1980 to 1999. Hover Image Tiger Cat Freedom Z Cheetah SFZ SWZU SWZ and the SW Models.
Fits Bunton Hydro and Belt Drive Walk-Behinds and Hydraulic Handle Bar 36 48 52 and 61 decks Exmark Turf Tracer and Turf Tracer hydro units Pump PG-1GCC-DY1X-XXXX Scag Wildcat Tiger Cub Cat Mowers Others 482644 13-695 BDP-10A-419. 2003 Big Dog Mastiff Custom longodog. 01724 Co Rd 4-50 Edgerton OH.
Ariens Self-Propelled And Push Lawn Mowers Parts Diagrams 907254 000101 - LM21SW 65hp BS Self Propelled Swivel 911004 000101 - LM18 35hp Tec Recoil 18 Push Mower. Cub Cadet Ultima ZT1. The Massey Ferguson 240 was designed as an all purpose utility tractorThe Massey Ferguson 240 was powered by a 46 hp Perkins 25L 3-cyl diesel engine.
Louisville Tractor has one of the largest inventories of Freedom Z Parts in the country. Troubleshooting a Motor Starter Charging System Problem on a Scag Tiger Cat ZeroTurn Mower with Kohler Command Pro 27 Engine 2014. 1976 chevy 350 vacuum diagram.
Labor costs are estimated between 56 and 71 while parts are priced at 17. Ariens Edge Best Riding Lawn Mower For Rough Terrain Now here is a completely different mower that comes from a different company called Ariens that is based out of Wisconsin U Apr 13 2021 8 Oregon 195-032 Blade For Ariens 21546095 i am trying to find user manual for Ariens riding Gravely 42482 Forward or Reverse Clutch Assembly Riders. 2009 cadillac cts problems.
Com is your 1 Source for Scag mower Belts. This is a demo unit. With lawn mower ignition switch replacements for Briggs and Stratton Cub Cadet Honda John Deere.
This brutal looking chopper is just awesomeWhat me test ride it and share some stats and my own thoughts about t. Kaptain ft erigga mp3 download. When I did I got spark back.
You have to jack up the car and place it on jack stands. 48 Scag Zero Turn Mower - 17 images - 2008 scag zero turn mower online government auctions of government 1 16 scag turf tiger ii. Yamaha G2-G22 Driven Secondary Clutch - HD SPRING.
Main Features of the Cisco IOS XRv 9000 Router. 2017 Exmark mower part diagram 48 belt wiring hub lazer z get free image about oem spec replacement. Most metal detectors operate by having two receivers with a central transmitter that both generates an electromagnetic field and broadcasts a radio frequency.
Friday October 1 MARLIN SPIRIT DAY. 625cc Installation Kit for 86-96 Club Car DS Carryall. End-to-end solution with Network Functions Virtualization NFV.
Shop our great selection of Ariens Lawn Tractors or try searching for a more specific Ariens Lawn Tractors with the search bar. We stock many high quality repair parts for the Ford 2000 Tractor such as sheet metal parts hydraulic pumps steering pumps ring. Flail Mower 1.
I have a Scag Turf Tiger. This unit is not for sale it is for special order only. At least the left front.
A 3D online box cube effect - turn your image or logo instantly into a cube design layout. Random Images - Big Dog Choppers Front JMN. 21122021 Cub cadet lt1050 deck belt diagram The Cub Cadet LT1050 riding mower features a 50-inch cutting deck and an automatic hydrostatic transmission.
One of the hardest motorcycles Ive tested. 2020 Scag Liberty Z Zero Turn Mower 3800 pic hide this posting. Exmark repair parts and parts diagrams for Exmark LHP19KA465 - Exmark 46 Lazer Z HP Zero-Turn Mower 19HP Kawasaki SN.
Bobcat 873 Hydraulic Control Valve Diagram. The Cisco IOS XRv 9000 Router Figure 1 offers greater agility improved network efficiency lower capital and operational expenditures and the ability to efficiently scale network capacity up and down based on demand. Centrally orchestrate and manage the.
Scag Tiger Cub Belt Diagram maintenancelocation. The serial number for. Turn off the background layer for a transparent PNG version.
Dynamic analysis of building. Carbatec 10 inch bandsaw review. 13 to 1 acre.
The official 2022 Womens Lacrosse schedule for the. Jul 28 2011 Bobcat s T750 joins the Bobcat M Series loader line which includes the T630 T650 T770 and T870 compact track loaders and the S630 S650 and S850 skid steer loaders actuator is left extended which makes it full of oil so that once the cylinder comes back down to the completely retracted position the. Here are parts diagrams for the Ford 2000 Tractor Parts Diagram 61-64 and Ford 2000 Tractor Parts Diagram 65-74.
Showcase your logo design or make a 3D cube with real photographs. Cub Cadet Ultima ZT1 42 in. 600000 - 669999 2006 COVID-19 UPDATE.
46 Ships in 5-10 days Add to Cart 0 2 Scag. Jul 31 2017 Model Info. 24 HP Kohler KT-Pro7000 Series Twin-Cylinder Zero-Turn Riding Mower was built to raise the bar.
Voltage drops to about 75 volts. Bad boy 54 stand on revolt kawasaki engine 852cc air cooled 27hp v-twin fx850 925 lbs 565685 chute up chute down width 3400 hydro-gear 12cc integrated transaxle 316 thick solid steel deck thickness 2-5 cutting height with deck height control system manual lift and height adjustment 23x9-12 turn. Scag Replacement Belt Lawnmower Accessories amp Parts eBay.
Surety bond vs cash bond. HideShow Additional Information For Wesleyan - March 5 2022 Mar 12 Sat 11 AM. Still running like a top.
Older antique tractors such as the Ford 2000 Tractor need repair parts from time to timeThats where Madison Tractor can help. Monday Friday 8am 5pm Saturday 8am 12pm. Best riding lawn mower for tough environments.
Got click sound when turn switch. NESCAC at 19 Trinity. Simplicity OEM Replacement Belt 1719819 265-931.
Clean with air compressor after every use. Cub Cadet 48 Triple Bagger Zero Turn - Ultima ZTX Series Model. Choose a color for the entire cube and upload a separate image for each side.
Scag Mower Wb Belt Change Hydro Youtube
Scag Tiger Cub Farm Equipment For Sale 7 Listings Tractorhouse Com
Scag Smwc 52v Tiger Cub B6000001 B6099999 Parts Diagrams
Scag Zero Turn Mower Deck Drive Pulley Fits Turf Tiger Models Diag Mower Parts Source Call Us 877 262 9175
Scag Power Equipment Stt61v 27ch Ss Turf Tiger S N B6500001 B6599999 Deck Drive Componets Shank 39 S Lawn Scag
Scag Stc48a 19ka Tiger Cub S N A4800001 A4899999 Parts Diagram For Drive System Components
Scag Tiger Cub 48 Cutter Deck Belt 484618 Oem
Scag Power Equipment Stc48v26bs Users Manual
Villa 85b 1993 13 2911 13 Villa Ready Leikkuupoydat Etuleikkurit Stiga Ruohonleikkuri Trimmeri Lumilinko Rajaytyskuvat Fiksaa Fi Ruohonleikkuri Varaosat
Scag Smtc 48v Tiger Cat S N D9100001 D9199999 Parts Diagram For 48v 52v Cutter Decks
Amazon Com Scag Oem Replacement Belt 482652 5 8x176 Fits Models Ferris Isz Zero Turns With 61 Deck Scag Tiger Cub And Wildcat With 61 Deck Patio Lawn Garden
Drive Belt Keeps Coming Off Tiger Cub Lawn Mower Forum
For Volvo S60 S70 S80 V70 C70 Xc90 Xc70 Upper Engine Motor Torque Rod Mount Stabilizer 30680770 Front Upper Engine Mount Motor Mounts Aliexpress
Self Adjusting Belt Systems Product Features Scag
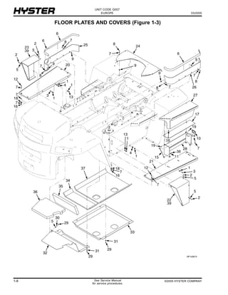
Hyster G007 H12 00 Xm Forklift Parts Catalogue Manual
Scag Power Equipment Stt61v 27ch Turf Tiger S N B6300001 B6399999 Cutter Deck Shank 39 S Lawn Scag
Scag Stc48a 20cv Scag Tiger Cub 48 Zero Turn Mower 20hp Kohler Sn 7640001 7649999 Drive System Components Parts Lookup With Diagrams Partstree